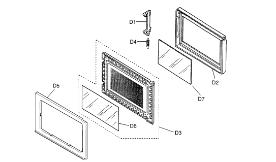
4.3 DOOR ASSEMBLY

TOP PREVIOUS NEXT

Ref. No.

Part No.
Part Name & Description
Pcs/Set
Remarks
D1

F30185Q00AP
DOOR KEY A
1

D2

F30015Q00SBP
DOOR A
1
K593MF,K574MF(EXCEPT LPK),S554MF
D2

F30015Q00SAP
DOOR A
1
K574MF LPK
D2

F30015Q00HBP
DOOR A
1
K574WF,K544WF,S554WF(EXCEPT LPK)
D2

F30015Q00HAP
DOOR A
1
S554WF LPK
D3

F302K5Q00AP
DOOR E(U)
1

D4

F30215G10XN
DOOR KEY SPRING
1

D5

F30855Q00AP
DOOR C
1







D6

F31456V60XP
DOOR SCREEN A
1

D7

F31465R90HP
DOOR SCREEN B
1
K593MF,K574MF/WF,K544WF
D7

F31465Q00HP
DOOR SCREEN B
1
S554MF/WF


TOP PREVIOUS NEXT